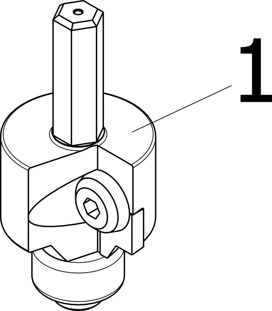
Viega Senkfräser 94980 Rp 1/2, mit Innensechskantschlüssel, Stahl
K19779844
4015211131111
131111
auf Anfrage
je 1 Stück
keine Verfügbarkeitsinformationen
Funktionen
Verkaufsdaten
| Mindestbestellmenge | 1 Stück |
| Bestellschritt | 1 Stück |
Beschreibung
zum Kürzen von Verlängerungen, langen Wandscheiben und Anschlusswinkeln
Merkmale
| Produktklasse | Bohrer |
| Modell | 94980 |
| Internet Link | https://www.viega.de/de/article/131111 |
| Geeignet für Glas | nein |