KEUCO Befestigungs-Set 2 Plan Care 2x Senkholzschraube, 2x Universaldübel
K20583811
4017214139293
34991000100
auf Anfrage
je 1 Stück
keine Verfügbarkeitsinformationen
Funktionen
Verkaufsdaten
| Mindestbestellmenge | 1 Stück |
| Bestellschritt | 1 Stück |
Beschreibung
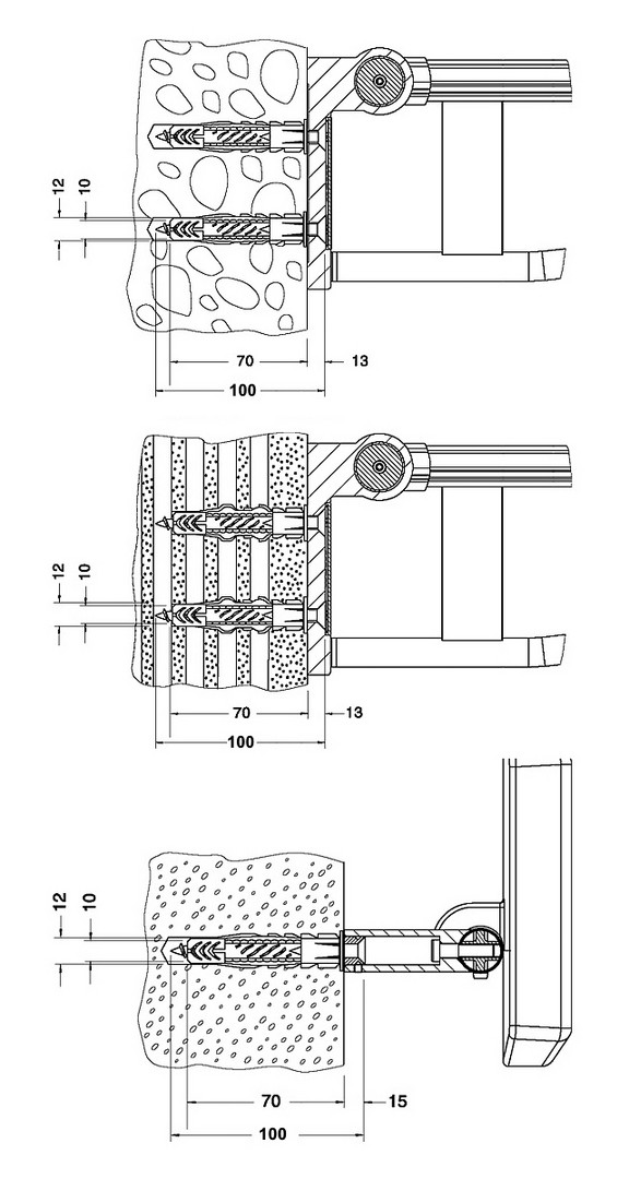
Senk-Holzschraube mit TX 40, 10 x 100 mm Edelstahl, Universaldübel DuoPower 12 x 60 mm, erforderlich zur Befestigung folgender Artikel 349 02, 349 03, 349 79, 349 82, 350 03, 351 79, sind separat zu bestellen, für folgende Ankergründe/Mauerwerke geeignet Beton, Hochlochziegel, Vollziegel, Hohlblockstein, Naturstein, Kalksandstein, Kalksandvollsteine, andere Lochsteine, Vollbims und andere Vollbaustoffe, Porenbeton P2/P4, Leichtbeton, Vollstein aus Leichtbeton V2/V4, Haufwerksporiger Beton (Einkornbeton), Gipswandplatten
Merkmale
| Produktklasse | Zusatzartikel |
| Serie | Plan Care |
| Internet Link | https://catalog.keuco.com/details/34991000100 |
| Internet Link | https://www.keuco.com/dl/34991000100 |