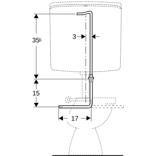
Geberit Umbauset Wasseranschluss unten, für AP-Spülkasten AP140
K7924577
4025416071358
240290001
auf Anfrage
je 1 Stück
keine Verfügbarkeitsinformationen
Funktionen
Verkaufsdaten
| Mindestbestellmenge | 1 Stück |
| Bestellschritt | 1 Stück |
Beschreibung
bestehend aus Konus-Quetschverschraubung, Nippel, Ventilhalter, Verbindungsbogen aus Kupfer, verchromt, Verbindungsrohr aus Kupfer
Merkmale
| Produktklasse | Zubehör/Ersatzteile für Spülkasten |
| Internet Link | https://catalog.geberit.de/de-DE/240.290.00.1.html |
| UBA-Positivliste | ja |