Für diesen Artikel gibt es einen Nachfolgeartikel:
GROHE Waschtisch-Einhebelmischer Eurosmart 1/2", L-Size, mit Zugstangen-Ablaufgarnitur, schwenkbarer Rohrauslauf, chrom 194103
keine Verfügbarkeitsinformationen
Merkmale
| Farben | chrom |
Verkaufsdaten
| Mindestbestellmenge | 1 Stück |
| Bestellschritt | 1 Stück |
GROHE Waschtisch-Einhebelmischer Eurosmart chrom, L-Size, mit Ablaufgarnitur, mit Temperaturbegrenzer
175397
4005176312212
23537002
auf Anfrage
je 1 Stück
keine Verfügbarkeitsinformationen
Funktionen
Verkaufsdaten
| Mindestbestellmenge | 1 Stück |
| Bestellschritt | 1 Stück |
Beschreibung
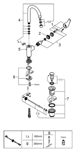
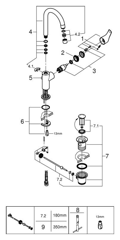
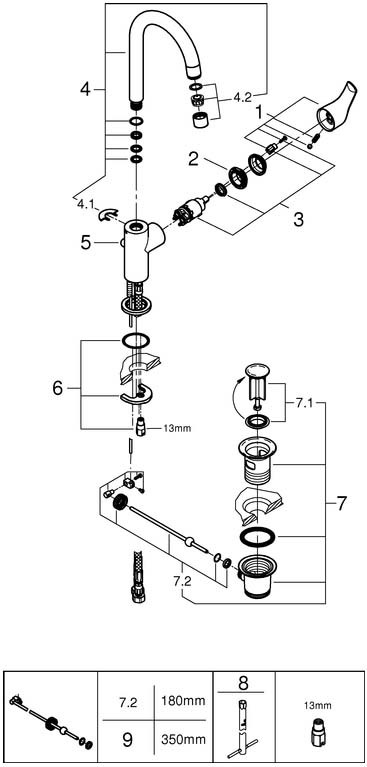
DN 15, SilkMove 2,8 cm Keramikkartusche, mit Temperaturbegrenzer, StarLight Oberfläche, EcoJoy 5,7 l/min Mousseur, QuickFix Schnellbefestigungssystem, schwenkbarer Rohrauslauf, Schwenkbereich 360°, Zugstangen-Ablaufgarnitur 1 1/4", flexible Anschlussschläuche
Merkmale
| Produktklasse | Waschtischarmatur |
| Serie | Eurosmart |
| Modell | 23537_2 |
| Internet Link | https://www.grohe.de/de_de/-23537002.html |
| Farbe | Chrom |
| Ausführung | mechanisch |
| Oberflächenschutz | verchromt |
| Montageart | Platte/Armaturenloch |
| Mit Ablaufgarnitur | ja |
| Mit Temperaturbegrenzung | ja |
| Anschluss Vorlauf | Schlauch (Verschraubung) |
| Anschlussmaß Zufuhr | 3/8 Zoll |
| Anschlussspannung | 0 V |
| Ausführung der Temperaturregelung | manuell |
| Mit Kupplungen | nein |
| Thermostatisch | nein |
| Anzahl der Armaturenlöcher | 1 |
| Schließmechanismus | Kartusche keramisch |
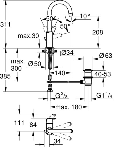
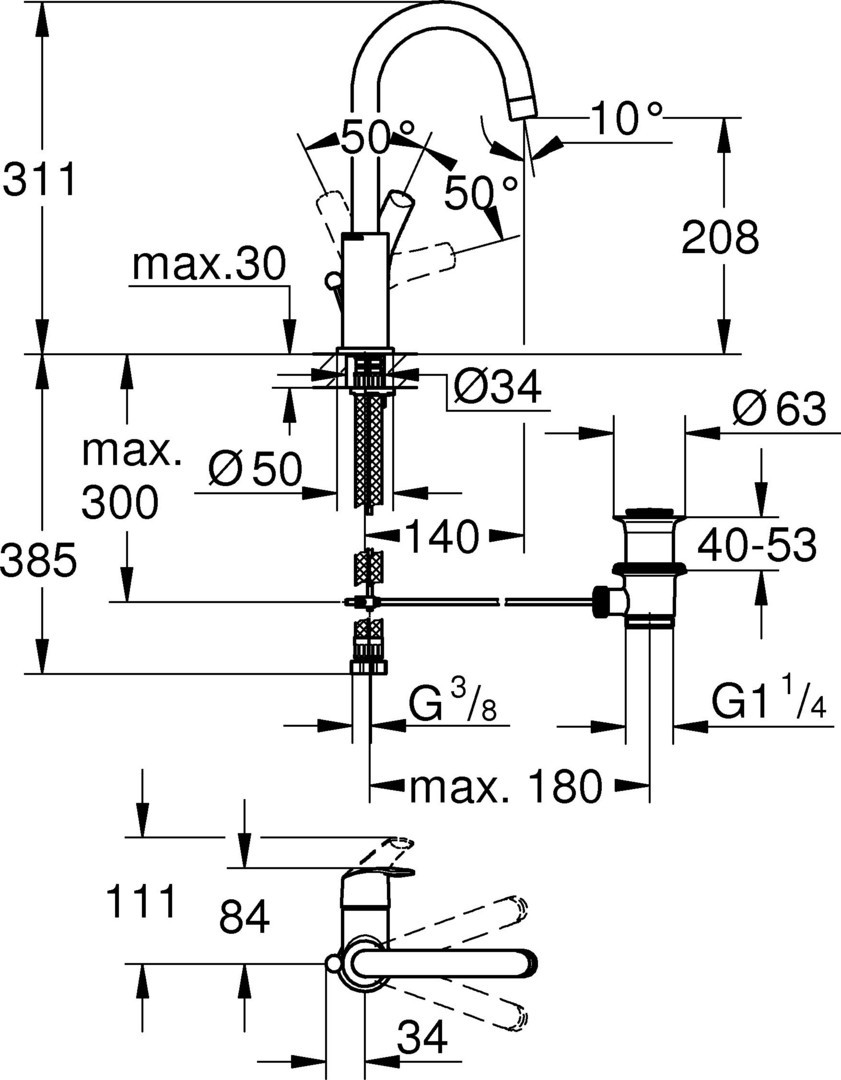
| Vorsprung Auslauf | 140 mm |
| Material Hahn | Messing |
| Mit Rosetten/Abdeckplatte | nein |
| Ausführung Auslauf | fest unten |
| Aufbauhöhe gesamt | 311 mm |
| Aufbauhöhe Unterkante Hahnauslass | 208 mm |
| Mit Griffen | ja |
| Mittenabstand | 0 mm |
| Mundstück Wasserhahn | Schaumstrahldüse |
| Spülzeit | 0 s |
| Oberflächenbehandlung | poliert |
| Niederdruckausführung | nein |
| Mit Handbrause | nein |
| Auslauftyp | Rohr |
| Tastweite | 0 mm |
| Mit Kette | nein |
| Ausziehbarer Ausguss mit Perlator | nein |
| Ausziehbarer Ausguss mit Handdusche | nein |
| Kaltstart-Funktion | nein |
| Art des Griffs | eingriffig |
| Selbstverschließend | nein |