Suchergebnisse 2 Treffer
(kann ähnliche Treffer enthalten)

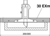
Messbrücke 200mm MAHR K23639629

keine Verfügbarkeitsinformationen
auf Anfrage
je 1 Stück
Länge
200

Messbrücke 300mm MAHR K23643010

keine Verfügbarkeitsinformationen
auf Anfrage
je 1 Stück
Länge
300